Cty TNHH DKV VIỆT NAM
chi tiết
KÍCH THỦY LỰC OSAKA E5S12.7 | CON ĐỘI THỦY LỰC OSAKA E5S12.7 | OSAKA HYDRAULIC JACK E5S12.7
Kích thủy lực Osaka E5S12.7, Osaka hydraulic jack E5S12.7
 
  • Kích thủy lực Osaka E5S12.7, con đội thủy lực Osaka E5S12.7, Osaka hydraulic jack E5S12.7 là loại kích thủy lực sản xuất tại Nhật Bản, 1 chiều, vỏ thép, loại nhỏ có sức nâng max: 5 tấn, hành trình max: 127 mm, áp hoạt động < 720 bar (72 Mba), chuyên dùng cho nâng hạ trong công nghiệp.
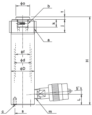
  • Kích thủy lực Osaka E5S12.7 có chiều cao tĩnh, chưa nâng (H = 214 mm), đường kính của thân kích (ØD = 42 mm), đường kích lòng xylanh (Ød = 30 mm).
  • Trang bị lò xo hồi giúp kích thủy lực Osaka E5S12.7 hồi nhanh về vị trí ban đầu, khi xả tải (xả áp), giảm thiểu thời gian chờ đợi hồi kích trong quá trình thao tác.
  • Coupler tiêu chuẩn hệ Nhật với ren 3/8"-NPT cho phép đấu nối nhanh với bơm thủy lực, thông qua ống dây thủy lực, phụ kiện thủy lực.
  • Kích thủy lực Osaka E5S12.7 trang bị ren đầu kích (ren ngoài a = M42x1.5, ren trong b = M20x2), 2 bulong chìm dưới đáy kích M6x10L, giúp thuận tiện gá đặt kết nối với đồ gá khi cần thiết.
  • Kích thủy lực Osaka E5S12.7 dòng ES được chế tạo bằng thép cường lực, chịu va đập tốt, kết hợp với gioăng phớt chất lượng cao, cho tuổi thọ sử dụng dài lâu, đặc biệt là sai số tải trọng rất nhỏ trong quá trình sử dụng theo năm tháng vận hành.
 
  • Để nâng các tải trọng cỡ lớn, kích thước dài và rộng, có phân bố tải trọng không đồng đều, thường chọn giải pháp phối 1 bơm cho nhiều kích thủy lực Osaka E5S12.7, hoạt động đồng thời, thay vì chỉ sử dụng một vài chiếc kích cỡ lớn.
  • Một bộ kích thủy lực Osaka E5S12.7 hoàn chỉnh: sẽ bao gồm thêm bơm thủy lực TWA-0.3, ống dây thủy lực 2m có tích hợp coupler và áp kế Ngoài ra, có thể lựa chọn giải pháp 1 bơm thủy lực (điện, khí nén, bơm chạy xăng, bơm chạy pin) cho nhiều kích thủy lực cùng lúc (4, 6, 8, 12....) thông qua bộ chia thủy lực (lắp valve điều chỉnh hoặc không lắp valve).
  • Kích thủy lực Osaka E5S12.7 được DKV VIET NAM CO.,LTD, với tư cách là đại lý chính thức, nhập khẩu trực tiếp từ Nhà máy của Osaka Jack - Osaka - Japan, đi kèm với CO của Phòng thương mại Nhật Bản.
  • Nhận sửa chữa, phục chế kích thủy lực, bơm thủy lực và cung cấp phụ kiện đầy đủ (gioăng phớt, lò xo, valve) của Osaka Jack và các hãng khác. Nhận cung cấp dịch vụ kiểm định test tải trọng kích tại các trung tâm kiểm định của Nhà nước và tư nhân, để nhanh chóng đưa kích vào sử dụng tới khách hàng.
  • DKV VIET NAM nhận cung cấp ống dây thủy lực (vật liệu cao su hoặc nylon gia cường) với độ dài bất kỳ (4m, 6m, 8m, 10m, 15m, 20m, 50m...), chuyển đổi coupler sang các kiểu khác, để phù hợp với chuẩn Enerpac, Power Team, Betex, Holmatro, Riken, Larzep, Rehobot, Simplex, Tecpos, Tonners... mà khách hàng đang sử dụng.
  • Ngoài kích thủy lực Osaka E5S12.7 và các sản phẩm tiêu chuẩn luôn có sẵn, chúng tôi còn có sẵn các kích tiêu chuẩn giá rẻ hơn của Korea, China để thỏa mãn sự lựa chọn thêm của khách hàng, phù hợp với tiêu chí của khách hàng đặt ra (tham khảo tại: www.dkv.biz.vn và www.dkv-hydraulic.com).
  • Giao hàng và service kích thủy lực Osaka E5S12.7 toàn quốc cho mọi khách hàng, hãy liên hệ với chúng tôi tại các văn phòng gần nhất, để được phục vụ.
  • Thông tin sản phẩm niêm yết chính thức tại hãng Osaka Jack.  
  • Catalogue, thông số kỹ thuật sản phẩm chi tiết xem tại đây.       
 
 
THAM KHẢO THÊM:
 
 
 
 
 
 
THÔNG TIN HỖ TRỢ:
  • Xuất xứ: Osaka/Japan (Made in Japan).
  • CO do phòng Thương mại Nhật Bản cấp (bản photo copy).
  • CQ do nhà sản xuất Osaka/Japan cấp.
  • Bảo hành: 12 tháng (theo tiêu chuẩn nhà sản xuất).
  • Quy cách đóng gói: hộp carton.
  • Thời gian giao hàng: 1 - 2 ngày (đối với hàng có sẵn tại Việt nam) , 15 - 45 ngày (đối với hàng không có tại Việt nam, tùy thời điểm đặt hàng). Giao hàng toàn quốc.
  
Sản phẩm liên quan

VĂN PHÒNG HÀ NỘI

Add: Số 4, ngõ 218/64 Lạc Long Quân, Tây Hồ. Tel/ Fax: 024.625.826.88 Hotline: 092.888.4690

VĂN PHÒNG ĐÀ NẴNG

Add: P104, A2, số 2, Dương Văn Nga, Sơn Trà. Tel/ Fax: 0236.6280.666 Hotline: 098.999.4690

VĂN PHÒNG HỒ CHÍ MINH

Add: C5.08, tòa nhà SunView 1, Tam Phú, Thủ Đức. Tel/ Fax: 028.668.050.90 Hotline: 093.333.4690

VĂN PHÒNG BÌNH DƯƠNG

Add: P401, tòa nhà Hiệp Thành 3, Thủ Dầu Một Tel/Fax: 0274.367.8690 Hotline: 089.999.4690

VĂN PHÒNG VŨNG TÀU

Add: A.904, tòa nhà Hoteco, Phú Mỹ, Tân Thành. Tel/ Fax: 0254.652.4690 Hotline: 091.999.4690

OSAKA JACK CO.,LTD (MANUFACTURER)

Add: 8-29,1-Chome,Higashi-Sumiyoshi-Ku,Osaka Tel: (+81) 6-6714-2880 Fax: (+81) 6-6719-0909
quang cao
quang cao